Пробивной предохранитель трансформатора

Главная сайтаНачало разделаЭлектроника в промышленностиТрансформаторы → Пробивной предохранитель трансформатора

Пробивной предохранитель трансформатора

При повреждении внутри трансформатора, например пробое изоляции между обмотками или отводами, цепь обмотки ВН может соединиться с токоведущей частью обмотки НН, при этом сторона низшего напряжения окажется под высоким напряжением, опасным для обслуживающего персонала и аппаратуры. Во избежание появления высокого потенциала на стороне НН у трансформаторов с низшим напряжением до 690 В устанавливают пробивной предохранитель 11, состоящий из фарфоровой головки и корпуса и находящейся между ними контактной системы — цокольного 7 и центрального 10 контактов. Контакты разделены слюдяной прокладкой 8 с отверстиями, образующими воздушные (искровые) промежутки. Головка и корпус вместе с контактной системой скреплены между собой с помощью резьбы на цокольной части.

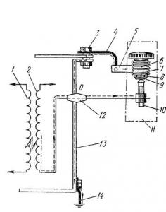
Схема включения и действия пробивного предохранителя: 1, 2 — обмотки ВН и НН, 3 — болт крепления крышки бака, 4 — перемычка, 5 — скоба предохранителя, 6, 9 — верхняя и нижняя части контактной головки, 7 — цокольный контакт, 8 — слюдяная прокладка с искровыми промежутками, 10 — центральный контакт, — пробивной предохранитель, 12 — ввод нейтрали, 13 — стенка бака, 14 — заземляющая перемычка бака.

Центральный контакт 10 соединяют с вводом 12 нейтрали обмотки НН при схеме «звезда» или с линейным вводом при схеме «треугольник», цокольный контакт — скобой с заземленным баком (крышкой). При появлении на стороне НН опасного напряжения воздушные промежутки слюдяной прокладки пробиваются образовавшейся электрической дугой, обмотка НН соединяется с землей и таким образом приобретает потенциал, равный нулю.




counter  ||  Хостинг Web1.0