Владельцам спаренных телефонов

Главная сайтаНачало разделаТелевидение и телефонияТелефония → Владельцам спаренных телефонов

Владельцам спаренных телефонов

Многим радиолюбителям, у которых дома установлены два телефонных аппарата, известна ситуация, когда говорят по одному телефону, а на втором, не убедившись, что линия свободна, начинают набирать номер, что создает неудобство в виде щелчков (при импульсном наборе номера) или тональных звуковых сигналов, мешающих разговору.
Для устранения этого в телефонные аппараты или телефонные розетки предлагаю установить один из описанных ниже сигнализаторов или блокиратор, позволяющий одновременно освободиться от подслушивания разговора и "подзвонки" телефона во час набора номера на втором телефонном аппарате (рис. 3).
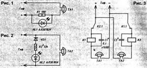
Первый сигнализатор включается в разрыв телефонной линии и зажиганием светодиода индицирует, что трубка на аппарате снята (рис. 1).
Второй сигнализатор, наоборот, при горящем светодиоде показывает, что линия свободна. Он подключается параллельно телефонной линии (рис. 2).

Конденсаторы С1, С2 (рис. 3) выбирают такими, чтобы частота колебательного контура, образованного обмоткой реле и конденсатором, не совпадали с частотой вызывного сигнала со станции (30...60 Гц) и частотой гудка (около 500 Гц), а при тональном наборе номера - ещё и с частотой тонального сигнала. Лучше, если частота этого колебательного контура будет выше 10 кГц.
В качестве реле К1 и К2 подойдут любые маломощные реле с сопротивлением обмотки до 200 Ом и током срабатывания не более 15 мА.
При поступлении сигнала вызова с АТС, при установленном блокираторе будут трезвонить оба телефона. Включится же тот, на котором первым поднимут трубку.




counter  ||  Хостинг Web1.0