Резисторы

Главная сайтаНачало разделаНачинающимРадиодетали → Резисторы 4estate/arenda/" target="_blank">Договор аренды нежилого помещения с физическим лицом.

Согласно ГОСТу резисторы, сопротивление которых нельзя изменять в процессе эксплуатации, называют постоянными резисторами. Резисторы, с помощью которых осуществляются различные регулировки в аппаратуре изменением их сопротивления, называют переменными резисторами(среди, радиолюбителей нередко до сих пор используется их старое, неправильное, название — потенциометры). Резисторы, сопротивление которых изменяют только в процессе налаживания (настройки) аппаратуры с помощью инструмента, например отвертки, называют подстроечными.

Кроме того, в радиоэлектронной аппаратуре находят применение разнообразные непроволочные нелинейные резисторы:

Постоянные резисторы широкого применения изготавливают с отклонением от номинала (допуском) в ±5, ±10, ±20%. Отклонения ±5 и ±10% входят в мapкировку резистора и обозначаются рядом с номиналом. На малогабаритных резисторах вместо обозначения ±5% указывается цифра I (что обозначает первый класс точности), а вместо ±10% — цифра II (второй класс точности). У резисторов, не имеющих таких обозначений, отклонение от . номинала может составлять до ±20%.

Класс точности характеризует лишь определенное свойство резистора. Но отнюдь не следует делать вывод, что аппарат, в котором используются резисторы только первого класса точности, будет работать лучше, чем аппарат, в котором этого принципа не Придерживаются. К этому даже не следует стремиться. Класс точности указывает только на возможность использования резистора в тех или иных цепях или устройствах.

Так, постоянные резисторы, используемые в измерительной аппаратуре, должны иметь малое отклонение сопротивления от номинального значения. Резисторы типов УЛИ, БПЛ, МГП, используемые в такой аппаратуре, изготавливают с отклонением от номинала в ±0, 1; ±0, 2; ±0, 5; ±1 и ±2%. Допуски эти указываются обычно в маркировке резистора.

Допускаемое отклонение от номинальной величины сопротивления, то есть пригодность данного резистора для использования в каком-либо конкретном случае, определяется тем, в какой именно цепи будет стоять резистор. Так, например, в коллекторной цепи транзистора, в цепях управляющей сетки ламп (в каскадах усиления высокой частоты, в однотактном усилителе низкой частоты, в триодном или пентодном детекторе или электронно-лучевом индикаторе настройки), а также в цепи сигнальной сетки лампы преобразователя частоты, в цепи АРУ, в диодном детекторе AM сигналов, в развязывающем фильтре цепи управляющей сетки электронной лампы практически можно применять непроволочные резисторы с любым отклонением от номинальной величины.

Резистор, используемый в цепи экранирующей сетки лампы каскадов УВЧ, УПЧ, УНЧ, преобразователя частоты и гетеродина, мржно брать с допускаемым отклонением от номинала в ±20%, хотя при, настройке-аппарата, для подгонки нормального режима каскада, возмож-но, придется подбирать резистор опытным путем.

Резисторы с допускаемым отклонением от номинала в ±10% могут быть использованы - в эмиттерной цепи транзистора, .в анодных цепях ламп, в цепях управляющих сеток двухтактных каскадов, в цепи гетеродинной сетки лампы преобразователя частоты, в детекторе ЧМ сигналов (детектор отношений, дробный детектор, дискриминатор), в сглаживающем фильтре выпрямителя, в развязывающих цепях, в цепях частотной коррекции, отрицательной обратной связи усилителей НЧ, регулятора тембра, автоматического смещения на управляющую сетку подогревной лампы (катодная часть лампы). Для установления нормального режима при регулировке и налаживании аппаратуры резисторы в цепях коррекции, обратной связи и в делителях часто приходится подбирать опытным путем.

В качестве добавочных сопротивлений для вольтметров (милливольтомметров) лучше всего применять резисторы типов УЛИ, БЛП, МГН, имеющие наименьшее отклонение сопротивления от номинальной величины (±0, 5-2%).

Резисторы, используемые в цепях высокой частоты (в колебательных контурах, цепях управляющих сеток и анодов ламп), должны быть только безындукционными. В таких цепях применяют непроволочные резисторы, индуктивность которых совершенно незначительна. По-скольку мощность, рассеиваемая в тех цепях, где эти резисторы используются, очень мала, это дает возможность за счет малых габаритов резисторов (при малых мощностях рассеяния габариты резисторов могут быть очень небольшие) уменьшать одновременно до возможного минимума и вносимые резисторами в эти цепи дополнительные емкости.

Следует заметить, однако, что миниатюрные непроволочныё резисторы с сопротивлением свыше 1 МОм ненадежны в работе. Объясняется это тем, что токопрово-дящая дорожка у таких резисторов для увеличения сопротивления выполняется в виде спирали на поверхности керамического цилиндрического корпуса. Поэтому при относительно большом числе витков токопроводящая Дорожка их имеет очень тонкий слой углерода, который легко разрушается, особенно в условиях повышенной влажности и при перегреве. Если все же возникает необходимость в использовании резисторов с такими номинальными значениями сопротивления, то из резисторов типа ВС с номинальными сопротивлениями свыше 1 МОм следует применять резисторы ВС-0, 5 или резисторы, имеющие еще большую номинальную мощность рассеяния, а следовательно, и большие габариты. Такие резисторы работают устойчивее.

Предельное напряжение, то есть наибольшее напряжение, не вызывающее нарушения нормальной работы резистора сопротивлением Rном (Ом), представляет собой величину напряжения постоянного тока или действующего напряжения переменного тока U (В), которое допустимо приложить к резистору (падение напряжения на резисторе), чтобы тепловые потери на нем не превысили мощности рассеяния Р (Вт) резистора. Это напряжение может быть вычислено по формуле:

U = (P * Rном)

Если температура нагрева резистора не превышает номинальной температуры (tНом), то мощность рассеяния в этом расчете принимается равной номинальной Р = Рном; при более высоких температурах нагрева (вплоть до максимально допустимой tмакс) величина Р должна быть соответственно снижена.

Основные повреждения резисторов — обрыв и изменение величины сопротивления. В случае повреждения непроволочные постоянные резисторы обычно не ремонтируют, а заменяют новыми. В любительской аппаратуре, если в этом возникает необходимость, могут быть использованы и самодельные проволочные резисторы. При аккуратном изготовлении такие самодельные детали по своему качеству не уступают изготовляемым промышленностью.

Переменные и проволочные резисторы в некоторых случаях поддаются ремонту. Неисправность в переменных резисторах обычно возникает при их длительной эксплуатации. Признаками неисправности являются, например, шорохи и трески в громкоговорителе приемника, нарушение плавности регулировки и появление полос на экране телевизора и т. д. Одной из причин этого может быть высыхание смазки трущихся контактных частей резистора или их окисление и загрязнение.

Для устранения тресков переменный резистор необходимо разобрать, промыть растворителем (бензином, спиртом и т. п.), протереть чистой тряпкой и слегка смазать маслом (протирать и смазывать следует не только ось, но и поверхность самой подковки).

Но если разбирать переменный резистор по каким-либо причинам невозможно или нежелательно, то в крышке можно просверлить отверстие и с помощью шприца ввести внутрь резистора на его ось и втулку подвижного контакта несколько капель чистого бензина, а затем такое же количество машинного масла. Ось переменного резистора при этом нужно все время поворачивать в одну и другую сторону. После смазки отверстие в крышке следует заклеить кусочком бумаги или залить смолой.

Иногда при ухудшении контакта между токопроводящей дорожкой и токосъемным движком трески и шорохи можно в радиоаппарате устранить, покрыв подковку резистора тонким слоем графитовой смазки, применяемой для некоторых узлов автомобиля. Но при этом надо помнить, что сопротивление высокоомного резистора может несколько уменьшиться, так как графитовая смазка обладает токопроводностью.

В случае внутреннего обрыва переменного резистора с линейной зависимостью сопротивления, используемого как реостат (движок соединен с одним из крайних выводов), восстановить его работоспособность можно очень просто, особенно если обрыв произошел непосредственно у вывода. Для этого достаточно поменять местами проводники, подсоединенные к крайним выводам резистора. Такое переключение приводит к тому, что поврежденное место проволочного резистора оказывается на нерабочем участке. Максимальное и минимальное значения регулировок при этом, очевидно, поменяются местами.

При параллельном соединении двух резисторов общее сопротивление цепи можно рассчитать по формуле:

Rобщ=R1R2/(Rl+ R2)

где R1 и R2 — соответственно величины сопротивлений каждого из резисторов.

В случае последовательного соединения резисторов общее сопротивление цепи равно сумме сопротивлений резисторов, включенных в цепь.

Как увеличить или уменьшить сопротивление резистора. Резисторы с постоянным сопротивлением большой величины (3...20 МОм) в случае необходимости можно изготовить самому из резисторов типа ВС с номиналом 0, 5 — 2 МОм. Для этого тряпочкой, смоченной в спирте или ацетоне, нужно аккуратно смыть краску с поверхности, а затем после просушки подключить резистор к ме-гаомметру и, стирая проводящий слой мягкой резинкой для чернил, подогнать величину сопротивления до необходимого значения. Эту операцию нужно производить очень аккуратно, стирая проводящий слой равномерно со всей поверхности.

Обработанный таким образом резистор покрывают затем изолирующим лаком. Если для этой цели применять спиртовые лаки, то после покрытия величина сопротивления несколько уменьшится, но. по мере высыхания лака величина его вновь восстановится. Для изготовления резистора исходный резистор с целью повышения надежности необходимо брать большой номинальной мощности (1 — 2 Вт).

Несложным способом можно увеличивать в два — четыре раза и сопротивление переменного резистора. Для этого тонкой шкуркой, а затем острым ножом, или бритвой соскабливают по краям подковки часть графитового токопроцодящего слоя (по всей ее длине). Чем больше должно быть сопротивление подковки, тем уже оставляется этот слой.

Если требуется, наоборот, уменьшить сопротивление переменного резистора, то токопроводящий слой по краям подковки можно зачернить мягким карандашом. Подковку после этого нужно аккуратно протереть ваткой, смоченной в спирте, чтобы удалить крошки графита, иначе при попадании крошек под подвижный контакт резистора возникнут трески в громкоговорителе.

Способ подбора резистора с малым допуском. Если в какой-либо особо важной цепи прибора необходимо установить резистор с малым допуском (допустим, ± 1 %), а в распоряжении имеются лишь резисторы с большим допуском (например, ±5%), то подогнать величину сопротивления можно, используя вместо одного два отдельных резистора с большим допуском (например, ±5%).

Один из этих двух резисторов должен иметь величину сопротивления, близкую к номинальной, но не превышающую номинал (допустим, 95, 5 кОм вместо 100 кОм): Второй резистор, включаемый последовательно с ним, должен иметь величину сопротивления меньшую, чем разрыв между номиналом сопротивления первого резистора и реальной его величиной (например, 3, 9 кОм вместо 4 кОм). Этот резистор, включенный последовательнб с первым, позволяет получить общее сопротивление цени близким к номиналу (95, 5 кОм + 3, 9 кОм = 99, 4 кОм; отклонение от номинала 100 кОм составляет всего 0, 6%).

Резисторы

Рис. 6. Некоторые способы включения переменных резисторов:

а — для получения зависимости, близкой к показательной;
б — для получения зависимости, близкой к логарифмической;
в — графики изменения напряжения на выходе схем

Как сделать переменный резистор с нелинейной зависимостью сопротивления. При конструировании различных приборов часто возникает необходимость использований переменных резисторов с нелинейной (логарифмической или показательной) зависимостью сопротивления от угла поворота оси подвижного контакта.

Нелинейную зависимость сопротивления, близкую к логарифмической и показательной, можно получить в резисторе типа А, обладающем линейной зависимостью, если включить его соответственно по схеме рис. 6, а или б. На этом же рисунке (рис. 6, в) показан вид кривых изменения сопротивления. Следует, однако, иметь в виду, что входное сопротивление такого регулятора изменяется (в четыре раза при крайних положениях движка), однако применение подобных регуляторов во многих случаях вполне возможно.

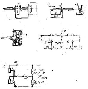
Как сделать сдвоенный переменный резистор. Простой способ изготовления сдвоенного переменного резистора показан на рис. 7, а. Сделать его можно из двух обычных переменных резисторов одинакового типа (А, Б или В), причем по крайней мере один из резисторов пары должен быть с выключателем (ТК — Д). Сняв крышку с резистора, имеющего выключатель, поводок выключателя изгибают так, как показано на рисунке. У второго резистора на торце оси прорезают шлиц, следя за тем, чтобы изогнутый поводок свободно, но без заметного люфта входил в прорезь. Сдвоенные резисторы укрепляют затем на П-образной металлической скобе. Чтобы предохранить резисторы от попадания пыли, их закрывают крышками: в крышке (без выключателя) проделывают отверстие для оси и надевают эту крышку на первый резистор. Крышку, снятую с первого резистора можно, если нет другой, надеть на второй резистор.

Компактный сдвоенный резистор с линейной зависимостью сопротивления можно изготовить из двух стандартных переменных резисторов СП-1. Наиболее сложная операция — выточка оси, размеры которой приведены на рис. 7, б. Движки, которые необходимо предварительно снять с разобранных резисторов, спилив напильником расклепанные части осей, насаживают на новую общую ось диаметрально противоположно друг другу (рис. 7, в). Между движками должна быть проложена шайба. Конец оси после установки движков расклепывают. Собранный сдвоенный резистор плотно закрывают металлической лентой с лепестками (рис. 7, г), которую после окончания сборки -пропаивают по образующей цилиндра.

Качество собранной пары резисторов можно проверить на установке, схема которой приведена на рис. 7, д. Она представляет собой мост постоянного тока, в плечах которого включены проверяемые резисторы. Если характеристики у обоих резисторов пары совершенно одинаковы, то стрелочный индикатор (миллиамперметр с током отклонения в каждую сторону от середины шкалы 1 мА) будет при вращении оси пары находиться в середине шкалы. На практике, однако, может наблюдаться некоторое расхождение характеристик пары резисторов, поэтому из нескольких пар лучшей будет та, у которой отклонение стрелки индикатора при полном повороте оси спаренного резистора будет наименьшим.

Резисторы

Рис. 7. Способы сдваивания переменных резисторов

Как удлинить ось. Для того чтобы удлинить ось переменного резистора, нужно подобрать латунный или стальной стержень того же диаметра, что и ось, а также металлическую трубку, внутренний диаметр которой должен быть равен диаметру оси.

На конце оси переменного резистора обычно бывает лыска — плоский участок для фиксации ручек. Дополнительный стержень также должен иметь лыску так, чтобы стержень и ось, приложенные друг к другу лысками (спиленными поверхностями), образовывали как бы продолжение друг друга. Если после этого между спиленными поверхностями проложить тонкую упругую прокладку (например, из резины) и надвинуть на место соединения муфточку из куска металлической трубки, то ось и стержень окажутся прочно соединенными друг с другом.




counter  ||  Хостинг Web1.0