Полупроводниковые приборы

Главная сайтаНачало разделаНачинающимРадиодетали → Полупроводниковые приборы

В настоящее время под этим понятием объединяется обширный класс приборов самого различного назначения: транзисторы, диоды (туннельные,силовые, детекторные, СВЧ, параметрические), фотоприборы, стабилитроны (опорные диоды), варикапы и пр.

Основные сведения о полупроводниковом приборе заложены в его условном наименовании. Однако система классификации и обозначения полупроводниковых приборов в течение пятнадцати лет менялась трижды, поэтому на практике можно встретить обозначения, относящиеся к трем разным системам. Приводим некоторые краткие сведения об этих системах, которые полезно знать каждому радиолюбителю.

Всем полупроводниковым приборам, которые были разработаны до 1964 года и выпускались серийно, по старому ГОСТу 5461 — 59 были присвоены условные наименования определенной структуры, составленные из двух или трех элементов. Первый элемент обозначения определял род прибора: буква Д обозначала диод, буква П — плоскостной транзистор. Второй элемент (число) указывал на тип устройства или на назначение прибора (точечный или плоскостной, германиевый или кремниевый, мощный или маломощный, высокочастотный или низкочастотный и т. д.). Число это обычно бывало двузначным, трехзначным или четырехзначным (от 0 до 1100) и каждой сотне или полусотне его соответствовало семейство приборов одинакового назначения или устройства. Третий элемент обозначения (буква) указывал на разновидность прибора того или другого типа.

С конца 1963 года была введена в действие другая система условных обозначений по ГОСТ 10862 — 64, согласно которой -вновь разработанным приборам присваивались обозначения, состоящие из четырех элементов. Первый элемент (буква или цифра) обозначал исходный материал, из которого сделан прибор: Гили 1 — германий; К или 2 — кремний; А или 3 — арсенид галлия. Буквы при этом вводились в обозначения приборов, имеющих невысокую рабочую температуру, а цифры — в обозначения приборов, выдерживающих более высокую температуру. Второй элемент (буква) указывал на род прибора или на группу их: Д — диоды; Т — транзисторы; В — варикапы; А — сверхвысокочастотные диоды; Ф — фотоприборы; Н — неуправляемые многослойные переключающие приборы; У — управляемые многослойные переключающие приборы; И — туннельные диоды; С — стабилитроны; Ц — выпрямительные столбы или блоки. Третий элемент (трехзначное число), как и в старой системе условных обозначений, указывал на назначение или электрические свойства прибора (мощность его, выполняемые функции, рабочий диапазон частоты или напряжения и т.д.). Четвертый элемент наименования (буква) указывал на разновидность типа данной разработки приборов. Так, обозначению 2Д403Б соответствовал кремниевый низкочастотный универсальный диод типа «Б», а ГТ105А — маломощный низкочастотный германиевый транзистор типа «А».

По ГОСТ 10862 — 72 была установлена новая система обозначений на вновь разрабатываемые и модернизируемые полупроводниковые приборы (транзисторы, диоды, тиристоры, стабилизаторы тока), состоящая из шести элементов. Первый элемент (буква — для устройств широкого применения; цифра — для приборов, используемых в устройствах специального назначения) обозначает материал, из которого изготовлен прибор: Г или 1 — германий; К или 2 — кремний; А или 3 — соединения галлия. Второй элемент (буква) определяет подкласс прибора: Т — транзисторы (за исключением транзисторов полевых — П); Д — диоды (выпрямительные, универсальные, импульсные); Ц — выпрямительные столбы и блоки; А — диоды сверхвысокочастотные; В — варикапы; Н — тиристоры диодные; У — тиристоры триодные; К — стабилизаторы тока; С — стабилизаторы и стабисторы. Третий элемент в обозначениях транзисторов, диодов и тиристоров (цифра) определяет назначение прибора. Так, транзисторы малой мощности обозначаются цифрами 1, 2 и 3 (в зависимости от граничной частоты коэффициента передачи тока), транзисторы средней мощности — соответственно цифрами 4, 5 и 6, а транзисторы большой мощности — цифрами 7, 8 и 9. Выпрямительные диоды малой мощности обозначают цифрой 1, средней — цифрой 2, универсальные диоды — цифрой 4. Третий элемент обозначения стабилитронов определяет индекс мощности. Четвертый и пятый элементы для диодов, транзисторов и тиристоров (от 01 до 99) указывают порядковый номер разработки технологического типа прибора; для стабилитронов — номинальное напряжение стабилизации. Шестой элемент у транзисторов и диодов определяет деление технологического типа на параметрические группы, у стабилитронов и стабисторов — последовательность разработки (обозначается буквами русского алфавита от А до Я). Таким образом, обозначение ГТ605А расшифровывается как транзистор для устройств широкого применения, германиевый, средней мощности, номер разработки 05, группа «А», а обозначение ГД412А — диод полупроводниковый, универсальный, для устройств широкого применения, германиевый, номер разработки 12, группа «А».

Как определить выводы неизвестного транзистора. Если название транзистора, нанесенное на его корпусе, стерлось или под рукой нет справочника по полупроводниковым приборам, то выводы его и тип проводимости транзистора можно определить омметром или авометром. В первую очередь следует найти вывод базы транзистора. Делается это следующим образом. Измерительный прибор устанавливают в положение для измерения малых сопротивлений и плюсовой щуп его подключают к одному из выводов транзистора, а минусовой — поочередно к двум остальным выводам. Если авометр в обоих случаях показывает высокое сопротивление или в одном случае низкое, а в другом — высокое, то плюсовой щуп нужно подсоединить к другому выводу и снова измерить сопротивление между ним и остальными двумя выводами — нужно найти вывод, при подключении к которому плюсового щупа прибор показывает в обоих случаях малое сопротивление. Этот вывод и есть вывод базы, а транзистор имеет структуру (тип проводимости) n-p-n.

Если при таком подключении авометра вывод базы обнаружить не удается, то следует изменить полярность подключения прибора, т. е. к предполагаемому выводу базы подключить минусовой щуп авометра и измерить сопротивление между выводами таким же образом. Базовый вывод, найденный при этом, соответствует транзистору структуры (типа проводимости) р-n-р.

В ряде случаев нахождение базового вывода упрощается тем, что у большинства широко распространенных низкочастотных маломощных транзисторов вывод базы соединен с корпусом.

С помощью авометра можно определить и выводы эмиттера и коллектора маломощных транзисторов. В случае транзистора структуры n-р-n плюсовой щуп авометра подключают к предполагаемому выводу коллектора, а минусовой — к предполагаемому выводу эмиттера, а между предполагаемым выводом коллектора и базовым выводом подсоединяют резистор сопротивлением 1 кОм и отмечают величину сопротивления, показываемую прибором. После этого меняют полярность подключения предполагаемых эмиттера и коллектора и снова отмечают величину сопротивления. Плюсовой щуп авометра окажется подключенным к коллектору тогда, когда авометр покажет меньшее сопротивление между эмиттером и коллектором.

Коллекторный и эмиттерный выводы транзисторов структуры р-n-р определяются таким же способом, но к предполагаемому выводу коллектора подключают минусовой щуп прибора.

У всех мощных транзисторов, предназначенных для крепления на радиаторе, коллекторный вывод соединен с корпусом. У всех высокочастотных транзисторов, кроме транзисторов коаксиальной конструкции и экранированных (ГТ311, ГТ313), вывод коллектора тоже соединен с корпусом.

Чтобы избежать неправильного включения транзисторов, у которых определены выводы, на них можно надевать цветные хлорвиниловые трубки длиной 10 — 15 мм. Цвет трубок лучше всего выбрать так, чтобы начальная буква цвета совпадала с начальной буквой названия электрода. Так, для вывода коллектора использовать красные трубки, базы — белого цвета. Эмиттерный вывод транзистора структуры р-n-р можно пометить голубой или синей трубкой, а транзистора структуры n-р-n — коричневой. Для этой цели можно использовать изоляцию монтажных проводов.

Для определения выводов транзисторов лучше всего применять авометры с источником питания 1, 5 В, так как большинство транзисторов допускают напряжения на эмиттерном переходе не более 2 В.

Проверка исправности транзистора. С помощью авометра можно определить также и исправность транзистора, измеряя сопротивления переходов в прямом и обратном направлениях. Маломощный транзистор с мощностью рассеяния на коллекторе не менее 150 мВт (П28 — МП41) исправен, когда прямое сопротивление переходов коллектор-база и эмиттер-база (минус на базе) составляет 50 — 70 Ом, обратное сопротивление этих переходов (плюс на базе) и сопротивление перехода коллектор-эмиттер в прямом и обратном направлениях — не более 100 кОм.

У транзисторов средней мощности и большой мощности (П602А, П605, П210А, П214 и др.) прямое сопротивление перехода коллектор-база и эмиттер-база (минус на базе) должно составлять 15 — 20 Ом; обратное сопротивление этих переходов (плюс на базе) и сопротивление перехода коллектор-эмиттер в прямом и обратном включении — не более 1 — 2 кОм.

Очень удобно с помощью авометра проверять и полупроводниковые диоды, например, используемые в выпрямителях телевизоров.

Для проверки выпрямительных (силовых) полупроводниковых диодов измеряют их сопротивления (разумеется, при выключенном аппарате). Выпаивать диоды из схемы не нужно. Выпрямительный плоскостной диод серии Д7 считают исправным, если его сопротивление в прямом направлении не превышает 250 — 300 Ом, а в обратном направлении составляет (вместе с шунтирующим резистором) не менее 30 — 35 кОм.

Проверка с помощью авометра чаще всего производится тогда, когда нужно установить, исправен ли прибор и не вышел ли он из строя в результате перегрева, переключений и перепаек в схеме и т. д. Для более точного измерения параметров транзисторов используются специальные приставки к обычным измерительным приборам, некоторые из которых описаны ниже.

Повреждения полупроводниковых приборов, их предупреждение и устранение. Повреждения полупроводниковых приборов могут быть электрические и механические. Так как для питания устройств, собранных на полупроводниковых приборах, используются обычно низковольтные источники тока, то любое кратковременное повышение напряжения или ошибочное включение батареи (если в устройстве не были предусмотрены на этот случай меры предосторожности) выводит полупроводниковые приборы из строя. Пробой — наиболее часто встречаемый вид электрического повреждения. Полупроводниковый прибор с электрическим повреждением, как правило, ремонту не подлежит.

Недостатком полупроводниковых приборов является, их большая чувствительность к перегреву. Для германиевых транзисторов опасен, например, нагрев свыше 100° С, а для кремниевых — свыше 150 — 200° С. Поэтому в целях повышения надежности не рекомендуется применять транзисторы в режимах, сочетающих максимально допустимые мощности, напряжения и температуру, а также вводить в цепь базы высокоомные сопротивления.

Полупроводниковые приборы

Рис. 16. Самодельные радиаторы для транзисторов

Мощность, рассеиваемую транзистором при работе в непрерывном режиме, можно существенно увеличить, применив радиатор. Рассмотрим два типа самодельных радиаторов.

Первый из них (рис. 16, а) предназначен для транзисторов большой мощности. Пластины радиатора могут быть изготовлены из металла, обладающего боль-.шой теплопроводностью (медь, алюминий или его сплавы). Набор пластин с прижатым к нему с помощью фланца транзистором стягивается четырьми винтами с гайками.

Радиатор другого типа (рис. 16, 6) может быть использован с транзистором серии КТ315. Его изготавливают из полоски металла (медь, алюминий и т. д.) шириной на 2 — 3 мм больше длины корпуса транзистора и приклеивают к корпусу эпоксидной смолой или другим клеем с хорошей теплопроводностью. При установке транзистора на плате концы радиатора должны упираться в плату.

Полупроводниковые приборы

Рис. 17. Легкосъемный теплоотвод для пайки транзисторов

В некоторых случаях тепловой режим маломощных транзисторов можно несколько облегчить, надев на металлический корпус транзистора тор («баранку») из проволочной спирали. Диаметр проволоки должен составлять 0, 5 — 1, 0 мм. Материалом может служить неизолированная медная, латунная, бронзовая или биметаллическая проволока. «Баранка» из спиральной пружины, надетая на корпус, должна плотно прижиматься к корпусу полупроводникового прибора. Для лучшего отвода тепла рекомендуется в месте их соприкосновения удалить краску с корпуса прибора.

Необходимо применять особые меры предосторожности и при пайке полупроводниковых приборов. Так, пайка гибких выводов допускается на расстоянии не менее 10 мм от корпуса. Во избежание повреждения транзистора паять вывод следует, используя теплоотвод в виде пинцета с медными наконечниками или зажимая выводы губками плоскогубцев. Отпускать плоскогубцы можно лишь после остывания места пайки. При пайке транзисторов, а также миниатюрных деталей очень удобен самодельный легкосъемный теплоотвод (рис. 17). Его можно изготовить из зажимов типа «крокодил», спилив концы губок и впаяв медные губки-вкладыши. Зажим должен иметь возможно более жесткую пружину. При пайке зажим присоединяют по возможности ближе к корпусу деталей. Рекомендуется также пользоваться маломощными паяльниками. Если корпус транзистора нагрелся так, что его невозможно держать пальцами, то это указывает на опасность перегрева прибора. Перед пайкой необходимо хорошо залуживать лепестки на контактных платах, к которым припаиваются выводы полупроводникового прибора.

Основной вид механических повреждений полупроводниковых приборов — поломка выводов. В некоторых случаях такие повреждения можно устранить.

Если у транзистора поломался средний вывод (база — у обычных транзисторов и коллектор — у диффузионных), то шабером или надфилем у края «юбочки» прибора зачищают небольшой участок поверхности корпуса. Затем это место залуживают и к корпусу прибора припаивают новый вывод. Нужно, однако, иметь в виду, что перегрев транзистора приводит к нарушению внутренних паек, выполненных легкоплавкими припоями, а следовательно, — к выходу его из строя.

Пайку и залуживание корпуса транзистора можно производить обычным припоем хорошо прогретым паяльником. Но при залуживании необходимо применять высокоактивные флюсы ЛТИ (ЛТИ-1 — спирт-сырец 67 — 73%, канифоль 20 — 25%, солянокислый анилин 3 — 7%, триэтаноламин 1 — 2%; ЛТИ-115 — спирт-сырец 63 — 74%, канифоль 20 — 25%, метафенилендиамин 3 — 5%, триэтаноламин 1 — 2%; ЛТИ-120 — спирт-сырец 63 — 74%, канифоль 20 — 25%, триэтаноламин 1 — 2%, диэтил-амин солянокислый 3 — 5%) или флюс с солянокислым анилином (солянокислый анилин 1, 75%, глицерин 1, 5%, канифоль — остальное; нужной вязкости добиваются добавкой соответствующего количества уайт-спирита). Это объясняется тем, что материал корпуса транзистора сплав ковар — плохо залуживается простыми канифольными флюсами. Залуживание и пайку при помощи высокоактивных флюсов следует производить в минимально короткий срок, так чтобы сам транзистор не успевал прогреться.

Перегрев полупроводникового прибора при пайке иногда можно предотвратить, применяя следующий способ. Триод или диод нужно поместить в воду так, чтобы место пайки находилось выше уровня воды. Далее пайку производят без особых предосторожностей. Вода, в которую прибор погружен, не даст ему перегреться. Даже при кипении температура ее не будет превышать 100° С.

Простые приборы для испытания транзисторов. На рис. 18 приведены две схемы простых приставок к аво-метру, предназначенных для испытания транзисторов. Несложная приставка (рис. 18, а) рассчитана для проверки маломощных низкочастотных и высокочастотных транзисторов структуры р-n-р и n-р-n. Ее можно использовать с любым авометром и производить с достаточной точностью измерение коэффициента передачи тока h21э при любом заранее заданном токе коллектора, т. е. определять эту величину при токе коллектора, соответствующем режиму транзистора в реальной конструкции и, следовательно, более объективно сравнивать транзисторы между собой. Приставка позволяет измерять также величину Iко.

Авометр при использовании этой приставки должен быть установлен на измерение постоянного тока. Полярность источника питания и способ подключения аво-метра должны соответствовать структуре проверяемого транзистора.

При испытании транзистора, подключенного к соответствующим гнездам панели, переключатель В1 из нейтрального положения переводят в положение «IКо» (нижнее положение на схеме рис. 18, а) и отсчитывают показания IКоко по шкале микроамперметра приставки (в приставке может быть применен микроамперметр типа М592 с пределом измерения 50-0-50). Затем переключатель переводят в положение h21э и переменным резистором R2 по шкале авометра устанавливают необходимый коллекторный ток транзистора. После этого отсчитывают показания тока по отклонению стрелки микроамперметра включенного в схему приставки. Полярность подключения источника зависит от структуры транзистора (на схеме рис. 18, а полярность соответствует структуре р-n-р; в случае структуры n-р-n полярность источника питания нужно поменять на обратную).

При использовании приставки для измерения параметров транзисторов средней и большой мощности необходимо ввести дополнительный переключатель, с помощью которого можно было бы подключать шунт, уменьшающий чувствительность микроамперметра приставки.

Другая приставка, схема которой показана на рис. 18, б, также предназначена для измерения статического коэффициента передачи тока h21эмаломощных и мощных транзисторов, а также обратного тока коллектора Iко маломощных транзисторов структуры р-n-р и n-р-n. Приставка может использоваться с любым измерительным прибором на ток 100 — 150 мкА. Питается она от батареи напряжением 4, 5 В (три последовательно соединенных элемента 316). В приставке нет дополнительного микроамперметра, и h21Э измеряется, в отличие от предыдущей приставки, при фиксированием токе смещения.

При измерении обратного тока коллектора Iко выводы базы и коллектора проверяемого транзистора подключают соответственно к зажимам Б1 и К. Переключатель В1 при этом виде измерений устанавливают, в зависимости от структуры транзистора, соответственно в положение «n-р-n» или «р-n-р». Затем с помощью выключателя ВЗ подключают питание приставки, переводят переключатель В2 в нижнее по схеме положение и отсчитывают показание Iко по шкале авометра.

Полупроводниковые приборы

Рис. 18. Приставки к авометру для проверки транзисторов:

a - для маломощных ВЧ и НЧ транзисторов;
б - для маломощных и мощных транзисторов 

Чтобы измерить h21Э транзистора малой мощности, вывод его эмиттера соединяют с зажимом Э, переключатель В2 возвращают в исходное положение (верхнее по схеме) и снова включают питание приставки. В этом режиме работы в цепь базы транзистора через резистор R1 подается фиксированный ток смещения (100 мкА). Значение Л21э определяется делением показаний прибора (в миллиамперах) на ток базы (0, 1 мА). Точно так же измеряют h21э мощных транзисторов, но вывод базы транзистора подключают к зажиму Б2 (фиксированный ток смещения в этом случае составляет 1 мА).

Если в качестве измерителя используют микроамперметр, то при измерении h21э ельность необходимо уменьшить (подключая различные шунты) до такой степени, чтобы ток полного отклонения при испытании маломощных транзисторов составил 10 — 20, а при испытании мощных — 100 — 200 мА.

Отбирая транзисторы для радиолюбительских устройств, следует иметь в виду, что требования, предъявляемые к ним, не всегда бывают одинаково строгими. Для стабилизированных каскадов усилителей НЧ, работающих при токе коллектора 1 — 2 мА, пригодны транзисторы с током Iко до 30 мкА, для оконечных каскадов, где ток коллектора составляет 5 — 10 мА и с током Iко до 60 мкА (в мощных выходных каскадах — еще больше). Не рекомендуется применять транзисторы, у которых за время измерения заметно увеличивается обратный ток. Такие транзисторы сильно шумят и чаще других выходят из строя.

Полупроводниковые приборы

Рис. 19. Простые генераторы для испытания транзисторов:

а — для грубой проверки работоспособности транзисторов;
б — для подбора пар транзисторов

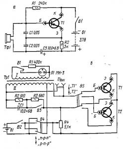
Для грубой проверки маломощного транзистора, позволяющей лишь судить о том, работает он или нет, можно использовать простейший звуковой генератор (рис. 19, а). Если проверяемый транзистор исправен, то в телефонах будет слышен звук высокого тона, если неисправен — в телефонах звук отсутствует. Здесь Т1 проверяемый транзистор; Тф1 высокоомные головные телефоны.

Подбор пар транзисторов. Иногда возникает необходимость подбирать пары транзисторов с одинаковыми или близкими параметрами (например, для работы в двухтактном каскаде). В этих случаях может оказаться полезным устройство, схема которого представлена на рис. 19, б. Пара транзисторов в этом устройстве испытывается поочередно в генераторном режиме.

При подборе пар транзисторов переключатель В4 в зависимости от структуры пары транзисторов устанавливают соответственно в положение «n-р-n» или «р-n-р» и при замыкании выключателя В2 (спаренного с переменным резистором R4) на транзисторы подается питание. Ток в цепи базы можно регулировать с помощью резистора R4 и, следовательно, можно регулировать генерируемое напряжение Uвых на выходе устройства. При подборе пары маломощных транзисторов резистор R3 должен быть зашунтирован (выключатель ВЗ замкнут).

Если транзисторы имеют близкие или одинаковые параметры, то поочередное переключение их с помощью В5 не изменяет интенсивности свечения неоновой лампы. Проверка ведется при минимальном свечении лампы (режим, близкий к срыву генерации), регулируемом переменным резистором R4.

Напряжение Uвых можно с устройства подавать на вход осциллографа. При этом вместо неоновой лампы нагрузкой генератора служит балластное сопротивление — резистор R1.

Трансформатор Tp1 собран на сердечнике из пластин Ш10 (толщина набора 10 мм). Обмотка I состоит из 1600 витков провода ПЭЛ 0, 1; обмотка II — 120 витков провода ПЭЛ 0, 3 (отвод от 20-го витка).




counter  ||  Хостинг Web1.0