Схема использования генератора в качестве металлоискателя

Главная сайтаНачало разделаХобби и развлеченияМеталлоискатели → Схема использования генератора в качестве металлоискателя

Схема использования генератора в качестве металлоискателя

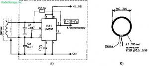
Если во времязадающую цепь автогенератора кроме резистора включить еще и катушку индуктивности L1 (рис. 5.79), то в такой схеме частота будет зависеть от параметров катушки. Как известно, близко расположенные токопроводящие предметы влияют на индуктивность катушки, а значит и на изменение частоты генератора. Если к выходу такого генератора подключить современный мультиметр, имеющий режим измерения частоты, то такое устройство можно использовать в качестве металлоискателя.

Для увеличения дальности обнаружения катушку датчика (L1) придется сделать объемной, как это показано на рис. 5.79, б. Для намотки провода удобно использовать пенопласт, вырезав из него соответствующий каркас. После намотки провода надо обмотать лакотканью или изолентой, что придаст жесткость рамке и защитит ее от влаги. После этого необходимо еще обмотать катушку алюминиевой фольгой, которая будет являться электростатическим экраном. В месте вывода проводов оставляется зазор 10—20 мм, т. е. фольга не должна иметь замкнутый контур, чтобы не ухудшать добротность основной катушки. Как придать катушке более привлекательный вид и сделать удобное для использования крепление, думаю, вы догадаетесь сами.




counter  ||  Хостинг Web1.0