Емкостной датчик

Главная сайтаНачало разделаЭлектроника в промышленностиДатчики и индикаторы → Емкостной датчик

Емкостной датчик

Устройство реагирует на приближение руки к металлическому предмету, например замку, сейфу, или же на касание охраняемого предмета. Датчиком может служить и любая электропроводная пластина с размерами примерно 200х200 мм. Чувствительность датчика зависит от настройки и может составлять до 20 см.

Отличительной особенностью приведенных схем емкостных датчиков является их малое потребление (работа в режиме микротоков), что позволяет применять автономное питание.

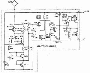
В основе работы схемы используется принцип изменяемой емкости. При поднесении руки к датчику WA1 в колебательный контур автогенератора на транзисторе VT1 вносится емкость, и его частота меняется. Начальная частота автогенератора около 280 кГц. Схема настраивается так, чтобы второй колебательный контур (L2, С7) был в резонансе с частотой автогенератора.

На транзисторе VT4 собран активный детектор ВЧ сигнала. При достаточной амплитуде напряжения в контуре (L2, С7) VT4 будет находиться в насыщении (при этом VT5 заперт).

Цепь из резисторов R6, R7 обеспечивает устойчивую работу схемы при изменении питающего напряжения от 3, 5 до 10В. Резистором R6 можно установить нужную чувствительность датчика.

Транзисторы VT2 и VT3 используются как диоды для стабилизации режимов работы транзисторов VT1 и VT4 при изменении питающего напряжения. По сравнению с диодами переход транзистора обеспечивает лучшую стабилизацию напряжения при малых рабочих токах.

Для удобства настройки схемы к коллектору VT5 можно подключить светодиод с ограничительным резистором (величина резистора зависит от напряжения питания и может быть от 200 до 1000 Ом).

Грубая настройка схемы производится конденсатором С7, плавная — сердечником катушки L2, а также резистором R6. Окончательная настройка устройства проводится с реальным датчиком WA1, с которым схема будет в дальнейшем работать. При этом если охраняемый предмет имеет большую металлическую поверхность, то может потребоваться установка разделительного конденсатора небольшой емкости (5...100 пФ) между WA1 и контактом 1 схемы.

Катушки L1, L2 намотаны на ферритовом стержне типа 600НН (или 400НН) диаметром 10 мм и длиной 55 мм.




counter  ||  Хостинг Web1.0