Электронная приманка для рыб

Главная сайтаНачало разделаХобби и развлеченияЭлектроника на рыбалке → Электронная приманка для рыб

Электронная приманка для рыб

Устройство представляет собой инфранизкочастотный генератор. Привожу дословный текст автора из описания (с небольшими опущениями) :"... Рыбы в водной среде очень чувствительны к малейшим сторясениям, акустическим звукам водной природы. Так например известно, что окунь чувствует и реагирует на малейшее сотрясения и подводные волны, расходящиеся от попавшего в среду предмета или другой рыбы... Вопрос в том, как он воспринимает эти сигналы - как интерес или как опасность? Эффективность применения устройства для рыбалки превзошла все ожидания... Один эксперимент проводился на озере при ловле рыбы с лодки... Электронная приманка опускалась на разную глубину - от 1 метра до самого дна. Конечно результаты лова можно объяснить косвенными причинами - хорошей погодой, вкусной наживкой или проголодавшейся рыбой, но результаты эксперимента были подтверждены еще дома. Капсула с прибором помещалась на дно 200 литрового аквариума с декоративными рыбами, где привлекала свое внимание на протяжении всего эксперимента - около 10 часов. Рыбы держались кучками вблизи капсулы, оставаясь почти на одном месте... Пока нельзя говорить о стопроцентном эффекте везде и всегда..."

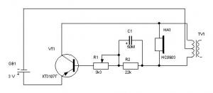
Теперь - о рекомендуемых автором деталях. Транзистор можно применить любой другой с аналогичными параметрами, необходимо только иметь в виду, что статический коэффициент усиления транзистора не должен быть менее 60. Резистор R2 и конденсатор С1 включены как фильтр НЧ и совместно с обмотками трансформатора Т1 обеспечивают возникновение и затухание электрических колебаний с частотой около 0, 3-0, 5 герц При уменьшении емкости С1 частота увеличивается. Подстроечный резистор R1 нужен для первоначальной установки рабочей точки транзистора. Это может, например, понадобиться если применить в схеме другой трансформатор или напряжение питания. Трансформатор в схеме применен типа СТ-1А - он имеет первичную обмотку с центральным выводом и общим сопротивлением 480 Ом, а вторичную - с сопротивление 4 Ома, но она не используется. Конденсатор С1 должен иметь минимальный ток утечки - не более 40 микроампер - лучше применить типа ЭТО.

Генератор потребляет от батареи ток около 3 Миллиампер.

Наладка заключается в установке на базе транзистора (относительно эмиттера) напряжения около 1, 5 вольт. Правильно налаженное устройство издает слабые вибрирующие звуки (ощущаются пальцами сквозь корпус).

Приманку помещают в водонепроницаемый корпус. После этого его желательно погрузить в ванну с водой на 1-2 часа для проверки герметичности.

Желаю удачи и, как говорится, "Ни чешуи, ни рыбы!".




counter  ||  Хостинг Web1.0