Применение интегральных микросхем КФ548ХА1 и КФ548ХА2

Главная сайтаНачало разделаУстройстваПрименение микросхем → Применение интегральных микросхем КФ548ХА1 и КФ548ХА2 А. ДЕМИН, С. КОРШУНОВ, И. НОВАЧЕНКО

г. Москва

На интегральных микросхемах КФ548ХА1 и КФ548ХА2 можно построить супергетеродинный радиоприемник с минимальным числом катушек индуктивности (только во входных цепях), рассчитанный на прием программ длинноволновых и средневолновых радиостанций. Благодаря отсутствию LC-контуров, его можно выполнить методом гибридной интегральной технологии, что позволяет существенно повысить надежность, снизить массу и габариты. Большим достоинством приемника является также его питание от источника с низким напряжением (3...6 В).

Микросхема КФ548ХА2 представляет собой преобразователь частоты, в состав которого входят смеситель, гетеродин и стабилизатор напряжения питания гетеродина. Необходимость в стабилизаторе напряжения питания вызвана тем, что из-за наличия паразитных емкостей интегральных транзисторов (коллектор — база ~ 1 пф и коллектор — подложка ~ 3 пФ) при максимальной частоте гетеродина, выполненного по схеме RC-генератора,— 2, 5... 3 МГц ее уход при изменении напряжения питания на 1 В достигает 5...7 кГц. Такое изменение частоты в переносных приемниках не всегда допустимо. Радикальным средством борьбы с этим недостатком RC-генераторов является стабилизация напряжения цепей их питания. Причем стабилизировать необходимо не только напряжение питания, но и токи транзисторов. В гетеродине микросхемы КФ548ХА2 это достигается применением источников постоянного тока с прямо пропорциональной зависимостью величины тока от температуры.

Гетеродин специальных выводов не имеет и подключен к смесителю внутри микросхемы. Смеситель выполнен по классической схеме [1] балансного модулятора и имеет четыре внешних вывода: на два (11 и 14) подается входной сигнал, на один (15) сигнал управления для регулировки коэффициента передачи при введении АРУ по высокой частоте и с одного (16) снимается выходной сигнал ПЧ.

Микросхема К548ХА1 выполняет функции тракта ПЧ. Она состоит из активных RC-фильтров (АФ) второго порядка, включенных между регулируемым усилителем тока (РУ) и амплитудным детектором. Избирательность по соседнему каналу обеспечивает включенный на входе тракта РЧ пьезокерамический фильтр. Выделенный им сигнал ПЧ поступает на вход РУ, регулировка коэффициента усиления которого производится сигналом АРУ. Эксперимент показал, что такой однокаскадный РУ может обеспечить диапазон регулирования 70...80 дБ, и нет необходимости применять несколько каскадов РУ, как это сделано, например, в микросхеме аналогичного назначения К174ХА2. Такой усилитель имеет также небольшой коэффициент гармоник (0, 5 % во всем диапазоне регулирования при глубине амплитудной модуляции 80 %).

Изменяющиеся в процессе регулировки токи РУ используются для индикации точной настройки на радиостанцию. Причем схемотехническое построение РУ позволяет устанавливать индикаторы настройки, работающие как на минимум (светодиодные), так и на максимум (стрелочные) показаний. Максимальный сигнал в цепи АРУ, а следовательно, и точная настройка на станцию будут соответствовать максимальному току, протекающему через микроамперметр, включенный в коллекторную цепь входного транзистора РУ, и минимальному показанию индикатора, установленного в коллекторную цепь выходного транзистора, т. е. подключенного последовательно с нагрузочным резистором РУ.

АФ состоит из трех усилителей, выполненных по схеме OK—ОЭ, и работает как избирательный преобразователь ток — напряжение. Вот некоторые параметры, характеризующие эффективность применения АФ в тракте ПЧ. При резонансной частоте 465 кГц и добротности, равной 12, полоса пропускания АФ по уровню —3 дБ близка к 40 кГц. Ослабление сигнала гетеродина с частотой 1, 2... 1, 5 МГц приблизительно 40 дБ, почти столько же, сколько обеспечивает одиночный полосовой LC-контур с добротностью 30. Максимальное усиление тракта ПЧ от выхода пьезокерамического фильтра до любого выхода АФ равно ~ 2000 или 66 дБ. Иными словами, сигнал в 50 мкВ на выходе пьезокерамического фильтра будет усилен до уровня 100 мВ, что вполне достаточно для качественного его детектирования сигнальным детектором, а также для начала активной работы цепи АРУ.

Двухполупериодные детекторы представляют собой усилительные каскады на транзисторах с объединенными коллекторами и эмиттерами, причем выходом сигнального AM детектора являются объединенные коллекторы. Достоинство таких детекторов — малое излучение на частотах, кратных ПЧ. Это позволяет исключить из спектра выходного сигнала составляющие с частотой ПЧ, что значительно снижает вероятность самовозбуждения тракта. Выходной сигнал детектора АРУ подается на усилитель, обеспечивающий также необходимую задержку управляющего сигнала и имеющий в своем составе простейший ФНЧ.

В безындуктивном тракте ПЧ единственным блоком, потенциально требующим настройки, является АФ, работающий на частоте 465 кГц. Однако фактически в большинстве случаев настраивать его не приходится. Основанием для такого вывода могут служить следующие оценки. При использовании конденсаторов с отклонением емкости от номинального значения ±:5 % и резисторов с отклонением сопротивления от номинального значения ±2 % добротность АФ устанавливается с точностью около ±10 % для худшего случая и около ±5 % для 95 % образцов при нормальном законе распределения отклонений реальных параметров элементов от номинальных. Более существенное влияние на суммарную АЧХ фильтров оказывает неточность установки резонансной частоты. В рассматриваемом случае отклонение резонансной частоты от требуемой составит для наихудшего случая ±7 %, что соответствует потере в усилении тракта ПЧ менее чем на 6 дБ в наихудшем случае и менее чем на 3 дБ для 95 % образцов. На ослабление сигналов с частотой гетеродина (1, 2...1, 5 МГц) разброс сопротивлений резисторов и емкостей конденсаторов активного фильтра практически не влияет. При необходимости АФ легко настроить на промежуточную частоту любым из резисторов, включенных между выводами 1—14 или 16—13 микросхемы, или конденсаторов, включенных между ее выводами 1 —16 и 13—15. Добротность подстраивается резистором, включенным между выводами 1—16.


Применение интегральных микросхем КФ548ХА1 и КФ548ХА2

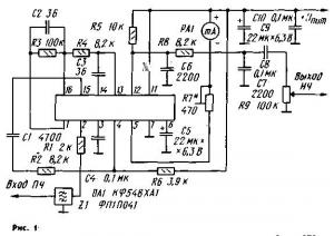
Типовые схемы включения микросхем КФ548ХА1 и КФ548ХА2 приведены на рис. 1 и 2. Средневолновый радиоприемник, построенный по типовой схеме (рис. 3), имеет следующие основные технические характеристики.

Диапазон принимаемых частот, кГц -- 510...1640
Реальная чувствительность, мВ/м -- 1, 5
Селективность по соседнему каналу, дБ -- 34
Селективность по зеркальному каналу, дБ -- 34
Действие АРУ:
изменение напряжения на входе, дБ -- 40
изменение напряжения на выходе, дБ -- 10
Коэффициент гармоник выходного напряжения, % -- 3
Напряжение питания, В -- 3...4, 5
Потребляемый ток, мА, не более -- 10

Применение интегральных микросхем КФ548ХА1 и КФ548ХА2

Отметим некоторые особенности микросхем, которые необходимо учитывать при построении радиоприемных устройств. Уровень чувствительности микросхемы КФ548ХА2 высок, а динамический диапазон ее смесителя ограничен. В связи с этим не удается удовлетворительно согласовать магнитную антенну с микросхемой без предварительного согласующего усилителя. В качестве такого усилителя может быть использован каскад на биполярном ВЧ транзисторе (например, КТ368), включенном по схеме с ОЭ, или каскад с ОИ на полевом транзисторе. В первом случае коэффициент усиления должен быть около 5, а коэффициент трансформации антенного контура — около 1:30. Во втором случае коэффициент трансформации должен быть 1:2...1:3, либо, что несколько хуже, входной антенный контур должен быть полностью включен в цепь затвора транзистора согласующего усилителя, после чего уровень сигнала должен быть снижен в 2...3 раза.

Далее, микросхема КФ548ХА1 может использоваться с преддетекторным контуром. Его следует включать между входом и выходом первого усилителя АФ (выводы 1, 16), второй его усилитель используется при этом как инвертор с коэффициентом усиления 2...4, задаваемым резисторами (например, сопротивлением 8, 2 кОм между выводами 13 и 14 и 2, 4 кОм между выводами 16 и 13).

Применение интегральных микросхем КФ548ХА1 и КФ548ХА2

Микросхема КФ548ХА1 совместно с микросхемой КФ174ПС1 позволяет создавать сверхминиатюрные УКВ приемники для систем управления моделями. В качестве примера на рис. 4 приведена схема такого приемника. Основные электрические параметры микросхемы КФ174ПС1 приведены в [2].

Применение интегральных микросхем КФ548ХА1 и КФ548ХА2

ЛИТЕРАТУРА

1. Гребен А. Проектирование аналоговых схем.— М.: Энергия, 1976.
2. Новаченко И„ Петухов В., Блудов И., Юровский А. Интегральные микросхемы для бытовой аппаратуры.— М.: Радио и связь, 1989.

РАДИО 7/89



counter  ||  Хостинг Web1.0